PlayStation patenta un mando para móviles con forma de Dualshock
¿Les gusta el diseño del mando? Desde la compañía ya dieron a conocer sus planes para el futuro de la consola

PlayStation Control
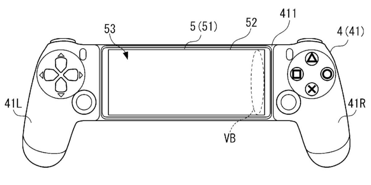
Sony Interactive Entertainment ha patentado un mando pensado para dispositivos móviles con un diseño similar al del DualShock 4, el mando oficial que utilizó la marca japonesa durante la generación de PlayStation 4.
Según reveló FESTIGAME El registro, solicitado el pasado mayo de 2020, ha sido autorizado este 25 de noviembre de 2021, por lo que Sony cuenta ya con un respaldo legal para futuros usos derivados de este diseño e idea conceptual.
¿En qué consiste el mando de PlayStation?
Como toda patente, no tiene por qué materializarse en nada, pero la división japonesa de SIE describe en el documento un periférico con dos agarres, uno a cada lado, que quedarían ajustados de forma paralela a un smartphone.
Esto es algo parecido a lo que ya ofrecen soluciones como Kishi, de Razer, uno de los dispositivos más populares para jugar a videojuegos en dispositivos móviles o mediante el juego en la nube, especialmente en el caso de Xbox con xCloud, con quien Razer está asociado.
Mira la foto del modelo a continuación:


Razer Kishi, de Razer | Cada vez son más los fabricantes con productos compatibles con el segmento ‘gaming’ para ofrecer controles físicos en las sesiones de juego.
Sony ofrecería algo similar, con un factor forma que respetaría el esquema de botones y disposición de comandos al más puro estilo PlayStation, con el añadido de que sería un producto oficial, facilitando así la compatibilidad con funciones específicas como Share y Options (los botones adyacentes a los comandos de acción y cruceta).
De hecho, también se habla de compatibilidad con control de movimiento, de forma que el dispositivo incluiría acelerómetro y giroscopio.


Recordemos que esta y otras noticias ligadas al mundo geek y gamer las puedes encontrar en Festigame, donde también nos tienen información sobre los nuevos récords de Steam o a la nueva serie que pronto saldrá sobre Star Wars.


